|
LYYD-5KVA/100KV交直流试验变压器
达瑞电气为您推荐
一、产品概述
试验变压器是在同类产品YDJ(G)型高压试验变压器的基础上,按试验变压器国家标准ZBK41006—89要求,经改进后生产的一种新型产品,本系列产品具有体积小、重量轻、结构紧凑、功能齐全、使用方便等特点。实用于电力、工矿、科研等部门,对各种高压电气设备、电气元件、绝缘材料进行工频耐压试验和直流泄漏试验,是高压试验中必不可少的仪器。
二、产品结构
试验变压器铁芯为单框式。线圈采用同芯圆筒多层塔式结构,初级低压绕组绕在铁芯上,次级高压绕组绕在低压绕组外侧,这种同轴布置减少了绕组间的藕合损耗。高压硅堆用特殊工艺封装在套管内,产品的外壳制成与器芯配合较佳的八角形结构,整体外型美观大方。其内外部结构见图1。
产品型号含义


图1:YDQC交流耐压试验变压器结构示意图
1-均压球;2-硅堆短路杆;3-高压套管;4-油阀;5-壳体;6、7-调整电压输入a、x端子;8、9-仪表测量E、F端子;10-高压尾X端子;11-变压器外壳接地端;12-高压输出A端子;13-高压整流硅堆;14-内部均压环;15-变压器铁芯;16-初级低压绕组;17-测量仪表绕组;18-二次级高压绕组;19-变压器油。
三、工作原理
试验变压器为单相变压器,联结组标号II。单台高压试验变压器的工作过程,用交流220V(10KVA以上为380V)电压接入电源控制箱(台),经电源控制箱(台)内自藕调压器(50KVA以上调压器外附)调节0~200V(10KVA以上0~400V)电压至试验变压器的初级绕组,根据电磁感应原理,在试验变压器高压绕组可获得试验所需的高电压。其工作原理图见图2所示。
1、单台YDQC高压试验变压器工作原理示意图

图2 :单台YDQC交流耐压试验变压器工作原理示意图
在试验变压器中:a、x为低压输入端;A、X 为高压输出端;E、F为仪表测量端。
2、单台交直流两用型高压试验变压器工作原理见图3。图中所示:高压套管内装有高压硅堆,串接在高压回路中作高压整流,以获得直流高电压。当用一短路杆将高压硅堆短接时,可获得交流高电压,其状态为交流输出;反之在抽出短路杆时,其状态为直流输出。
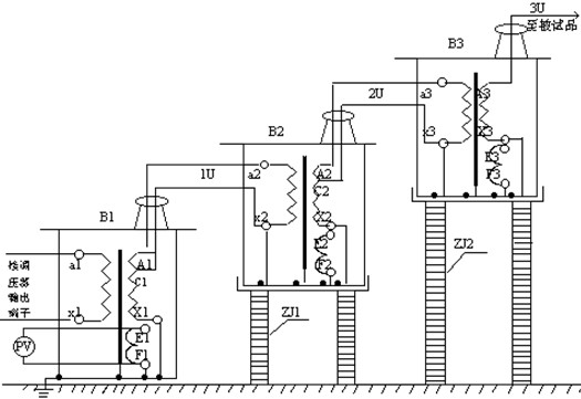
3、三台高压试验变压器串激获得更高电压原理见图4,串激高压试验变压器有很大的优越性,因为整个试验装置由多个单台串激式试验变压器组成,单台试验变压器有着体积小、重量轻、便于运输的特点,它既可以串接成高出几倍的单台试验变压器输出电压组合使用,又可以分开单独使用。整套试验装置投资小、经济实惠。图3所示:在三台串激式试验变压器串激使用中,单台试验变压器B1、B2、B3的输出电压都是U,*、二级的试验变压器内部都有一个激磁绕组,分别为A1、C1 和A2、C2。当控制电压加在*级试验变压器B1的初级绕组a1、x1上,激磁绕组A1、C1给予试验变压器B2初级绕组供电,第二级试验变压器B2的激磁绕组A2、C2给试验变压器B3的初级绕组供电。由于*级试验变压器B1的高压尾及壳体接地,第二、三级的试验变压器B2和B3对地有绝缘支架的隔离,这样试验变压器B1、B2、B3对地输出电压分别为1U、2U、3U。

图3:三台高压试验变压器串激工作原理示意图
B1、B2、B3- 串激式高压变压器;1U、2U、3U-各级对地电压;
PV- 高压示值表(KV); ZJ1、ZJ2-绝缘支架。
四、使用方法及注意事项
1、YDQC交流耐压试验变压器做工频耐压试验使用接线方法见图5。做工频耐压试验前,先根据试验变压器的额定容量选择好限流电阻,(水电阻)的阻值,再根据被试品需加的高压电压值调整好放电球隙的球间距,为了提高对被试品施加电压的测量精度,应在高压侧接入FRC阻容分压器来测量电压。

图4:工频耐压试验使用接线原理示意图
R1、R2- 限流电阻; Qx- 放电球隙; Zx- 被试品;
FRC- 阻容分压器; V- 分压器高压表。
按照图4、结合图2所进行的工频耐压试验接好工作线路,试验变压器的高压绕阻的X端(高压尾)、仪表测量绕组的F端、试验变压器的外壳以及电源控制箱(台)的外壳必须可靠接地。
用三台试验变压器串激做工频耐压试验时、第二、三级试验变压器的初级绕组X端,仪表测量绕组的F端,以及高压绕组的X端(高压尾)均接本级试验变压器的外壳,第二、三级试验变压器的主体必须放置在绝缘支架上。除*级以外、第二、三级试验变压器的主体不要接地线。其接线方式见图3所示。
接电源前,电源控制箱(台)的调压器必须调到零位。接通电源后,绿色指示灯亮,按一下启动按钮,红色指示灯亮,表示试验变压器已接通控制电源,开始升压。
从零位开始按顺时针方向匀速旋转调压器手轮升压。(升压方式有:快速升压法,即20S逐级升压法,慢速升压法,即60S逐级升压法,极慢速升压法供选用)电压从零开始按选定的升压速度升到您所需额定试验电压的75%后,再以每秒2%额定试验电压的速度升到您所需试验电压,并密切注意测量仪表的指示以及被试品的情况,被试品施加电压的时间到后。应在数秒内匀速将调压器返回,高压降至1/3试验电压以下,按一下停止按钮,高压、低压输出停止,然后切断电源线,试验完毕。
工频耐压试验操作过程注意事项
1、试验人员应做好责任分工,设定好试验现场的安全距离,仔细检查好被试品及试验变压器的接地情况,并设有专人监护安全及观察被试品状态工作。
2、被试品主要部位应清除干净,保持绝对干燥,以免损坏被试品和带来试验数值的误差。
3、对大型设备的试验,一般都应先进行试验变压器的空升试验,即不接试品时升压至试验电压,以便校对好仪表的指示精度,调整好放电球隙的球间距。
4、做耐压试验时升压速度不能过快,并防止突然加压,例如调压器不在零位的突然合闸,也不能突然断电,一般应在调压器降至零位时分闸。
5、在升压或耐压试验过程中,如发现下列不正常情况,1 电压、电流表指针摆动很大,2 被试品发出不正常响声,3 发现绝缘有烧焦或冒烟现象,应立即降压,切断电源,停止试验并查明原因。
6、使用本产品做高压试验时,除熟悉本说明书外,还必须严格执行国家有关标准和操作规程。
2、YDQC交流耐压试验变压器做直流耐压和泄漏试验使用接线方法见图5。由于是交直流两用高压试验变压器,应把高压硅堆短路杆从套管中抽出,使试验变压器为直流输出状态。做直流泄漏试验前,先根据泄漏试验中输出端断路电流不超过高压硅堆的zui大整流为宜,选择好限流电阻(水电阻)的阻值,再根据被试品对直流高压波形的要求选择好高压滤波电容的电容值。为了提高对被试品施加电压的测量精度,应在高压侧接入FRC阻容分压器来测量电压。

图 5:直流泄漏试验使用接线原理示意图
R- 限流电阻; C- 高压滤波电容; Zx- 被试品; G- 硅堆短路杆;
FRC- 阻容分压器;V- 分压器高压表;uA- 微安表;D- 高压整流硅堆。
按照图5、结合图3所进行的直流泄漏试验接好工作线路。试验变压器的高压绕组的X端(高压尾)、仪表测量绕组的F 端、试验变压器的外壳以及电源控制箱(台)的外壳必须可靠接地。

YDQC试验变做交流试验接线原理图

YDQC试验变做交流泄漏试验接线原理图
接电源前、电源控制箱(台)的调压器必须调到零位。接通电源后,绿色指示灯亮,按
一下启动按钮,红色指示灯亮,表示试验变压器已接通控制电源,开始升压。
从零位开始按顺时针方向匀速旋转调压器手轮升压。(升压方式有:快速升压法即20S逐级升压法;慢速升压法,即60S逐级升压法;级慢速升压法供选用)电压从零开始按选定的升压速度升到您所需额定试验电压或额定直流电流下的参考电压。试验中应严密注意直流高压表、泄漏电流表指示以及被试品的情况。试验完毕后,应讯速均匀将高压降至零位,按一下停止按钮,高压、低压输出停止,然后切断电源。此时应用直流高压放dianbang给被试品及试验装置本身充分放电。
直流泄漏试验操作过程注意事项
(1)试验人员应做好责任分工,设定好试验现场的安全距离,仔细检查好被试品及试验变压器的接地情况,并设有专人监护安全及观察被试品状态工作。
(2)被试品做试验前,应拆除所有对外连线,并充分放电,主要部位应清除干净,保持绝对干燥,以免损坏被试品及带来试验数值的误差。
(3)对于大容量试品(电容器、超长电缆等)试验时应缓慢升压,防止被试品的充电电流过大而烧坏微安表,必要时应分级加压分别读取各电压下微安表的稳定读数。
(4)试验过程中,应严密监视被试品、微安表及试验装置等,一旦发生闪烁、击穿等现象应立即降压,切断电源,并查明原因。
五、配套选购产品
下列产品仅供选择,购买时需另行计价。
1.KZX系列电源控制箱 容量:1KVA-5KVA、输入电压:220V
2.KZT系列电源控制台 容量:10KVA~300KVA输入电压:220V或380V
3.数字微安表:SWB-II
4.高压滤波电容: 0.01MF、40 ~ 100KV
5.高压直流放dianbang: FBR— 70、140、210KV
6.放电球隙: Q—50、100、150、200、250、500
7.标准试油杯: 400ml
8.折叠式手推车: 150、300型
9.绝缘支架: 50、100、200、300、400KV
10.阻容分压器: FRC —50、100、150、200KV
11.高压硅堆: 2DL—150、300、450KV
12.水 电 阻: 50、100
六、主要试验设备的选择
1、试验变压器
其高压侧额定电压应不小于被试品的zui高试验电压,额定电流不小于被试品的zui大电容电流。被试品的电容电流和试验变压器所需容量计算式为:

被试品电容量Cx可由交流电桥测出。常用的被试品电容量按表1选取。
几种常用被试品的电容量(pF) 表1

2、调压设备
(1)自藕调压器。其调压范围广、功率损耗小、波形畸变小、选择这种调压方式为。自藕调压器的容量按0.75 ~ 1倍的试验变压器的容量选择,适用于容量为100KVA以下的试验变压器的调压。
(2)感应调压器。其调压范围大,波形畸形小、但结构复杂、价格较贵,当试验变压器的容量较大时(如100KVA以上)使用。
3、限流电阻
限流电阻的作用是,当被试品击穿时,限制断路电流,从而保护试验变压器,防止故障的扩大。其数值以zui高试验电压为准,按0.5 ~ 1 Ω / V(有效值)选择,限流电阻可用水电阻。注意水不能充满玻璃管,应留有余地,以防爆裂。
4、放电球隙
放电球隙的布置方式有垂直和水平两种,球隙间距S和球的直径D的关系应保护在0.05D ≤S ≤0.5D范围内,球隙上的水电阻阻值一般按0.1 ~ 1Ω/V选取,设置放电球隙的目的是为了对重要的被试品起保护作用,可以将由于误操作或被试品击穿引起的过电压限制在允许的范围内。
七、试验变压器技术指示
|
型号
|
容量
|
高压电压
|
高压电流
|
低压输入
|
变比
|
温升℃
|
|
(KVA)
|
(KV)
|
(mA)
|
电压(V)
|
电流(A)
|
高/仪
|
30分钟
|
|
YDQC-1.5/50
|
1.5
|
50
|
30
|
200
|
7.5
|
500
|
10
|
|
YDQC-3/50
|
3
|
50
|
60
|
200
|
15
|
500
|
10
|
|
YDQC-5/50
|
5
|
50
|
100
|
200
|
25
|
500
|
10
|
|
YDQC-10/50
|
10
|
50
|
200
|
200
|
50
|
500
|
10
|
|
YDQC-15/50
|
15
|
50
|
300
|
200
|
75
|
500
|
10
|
|
YDQC-20/50
|
20
|
50
|
400
|
380
|
53
|
500
|
10
|
|
YDQC-30/50
|
30
|
50
|
600
|
380
|
79
|
500
|
10
|
|
YDQC-50/50
|
50
|
50
|
1000
|
380
|
12
|
500
|
10
|
|
YDQC-5/100
|
5
|
100
|
50
|
200
|
25
|
1000
|
10
|
|
YDQC-10/100
|
10
|
100
|
100
|
200
|
50
|
1000
|
10
|
|
YDQC-20/100
|
20
|
100
|
200
|
400
|
50
|
1000
|
10
|
|
YDQC-30/100
|
30
|
100
|
300
|
400
|
75
|
1000
|
10
|
|
YDQC-50/100
|
50
|
100
|
500
|
400
|
125
|
1000
|
10
|
|
YDQC-20/150
|
20
|
150
|
133
|
400
|
50
|
1500
|
10
|
|
YDQC-30/150
|
30
|
150
|
200
|
400
|
75
|
1500
|
10
|
|
YDQC-50/150
|
50
|
150
|
333
|
400
|
125
|
1500
|
10
|
|
YDQC-100/150
|
100
|
150
|
667
|
400
|
250
|
1500
|
10
|
|
YDQC-50/200
|
50
|
200
|
250
|
400
|
125
|
2000
|
10
|
|
YDQC-100/200
|
100
|
200
|
500
|
400
|
250
|
2000
|
10
|
|
YDQC-150/200
|
150
|
200
|
750
|
400
|
375
|
2000
|
10
|
|
YDQC-200/200
|
200
|
200
|
1000
|
400
|
500
|
2000
|
10
|
|
YDQC-300/200
|
300
|
200
|
1500
|
400
|
600
|
2000
|
10
|
|
YDQC-50/300
|
50
|
300
|
170
|
400
|
125
|
3000
|
10
|
|
YDQC-100/300
|
100
|
300
|
333
|
400
|
250
|
3000
|
10
|
|
YDQC-150/300
|
150
|
300
|
500
|
400
|
375
|
3000
|
10
|
|
YDQC-200/300
|
200
|
300
|
667
|
400
|
500
|
3000
|
10
|
|
YDQC-300/300
|
300
|
300
|
3000
|
500
|
600
|
3000
|
10
|
1、使用环境条件
环境温度不高于 40℃、不低于—20℃;空气相对湿度不大于90%;海拔高度不超过2000米;
2、工作电压
电源控制箱(台)输入电压为工频220V或380V、相对误差不超过±10%;(具体使用电压根据用户所定试验变压器规格选取)
八、随货文件
说明书 1份
产品出厂试验报告 1份
产品合格证 1份
装箱单 1份
注:以上信息及技术参数来源于扬州达瑞电气有限公司整理发布
|